第一节 产品生产技术发展现状
我国的矿用自卸汽车规模化生产始于七十年代,产品主要分布于冶金、煤炭、水利电力、有色金属等七大 行业 。
改革开放30年以来,中国工业获得了前所未有的发展,如今,已步入工业化快速发展阶段,对矿产资源的需求也日益增大,与此同时,我国对西部地区工业结构的调整也带动了采矿业的发展,采矿业的机械化程度也进一步提高。我国蕴含丰富矿产资源,每年煤、铁、有色金属等矿的开采量都非常大。据不完全统计,我国矿山运输方面的总装载量平均每年以20%~30%的速度增长,越来越大的运载量也带来了矿企对运输设备的大量需求。矿山环境恶劣,路面情况特殊,几乎都是不平整的碎石路,则对运输设备提出更高的要求。
国外的矿用运输设备研发起步比我国早,技术也比较成熟,一些机械制造商已针对这种工况设计出矿用机械车和铰接式卡车,主要品牌有卡特彼勒、小松、特雷克斯等。因此,我国采矿业使用的非公路自卸车仍部分靠进口。然而,进口非公路自卸车的价格比较昂贵的,且厂家在国外,售后服务和维修都相对不便利,我国中小型矿企购买不起,只好把卡车改装成矿用车进行使用。从技术角度来说,一般卡车的最大载重只有10吨左右,远远不及矿用车的载重量,且其轮胎、车架、悬挂系统等设计都是主要针对道路运输的,面对松软、泥泞、爬坡多的非道路运输根本不合适,此外,路面运输车的速度比较快,最低时速为70公里,而在矿山里车辆一般达不到这个速度,反而会增加油耗。综合以上 分析 ,改装的卡车不仅效率不高,使用寿命也不长,且没有安全保障。
第二节 产品生产工艺特点或流程
非公路自卸车的组成

自卸车一般由自卸车底盘、车厢、液压举升机构、副车架、后栏板锁紧机构及挡泥板组成。
(一)自卸车底盘
自卸车底盘就是车辆类别代码为“3”的汽车,目前国内外各大中、重型汽车底盘生产厂家都生产轻、中、重型自卸车底盘。
(二)车厢
车厢是自卸车装载货物的装置。自卸车车厢按结构形式分为:单开门、三开门、五开门、簸箕式。
a、单开门:只有后面厢板可以自动开闭。
b、三开门:左、右侧厢板可以开闭(当严重超载时,可以让货物从车厢两侧漏下),后面厢板可以自动开闭。
c、五开门:左、右侧厢板各分两块可以开闭,后面厢板可以自动开闭。
d、簸箕式:底板在后尾部向上翘起,主要用于运输矿石等大块货物。
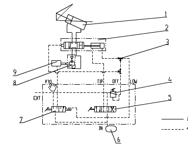
(三)液压系统举升机构
液压系统有两大类:一类是开式液压系统,即液压系统中有储油装置——油箱,另一类是闭式液压系统,即液压系统中没有另设储油装置——油箱,而是在油缸内部回油。
开式液压系统原理图

闭式液压系统原理图

1.油缸2.举升控制阀3.三通接头4.调压阀5.气控阀6.储气筒7.取力器控制阀8.齿轮泵总成9.取力器总成
一般的举升液压系统都包括有:液压油箱、齿轮泵、液压阀(油路换向阀)、液压油缸(液压系统的执行元件)、取力器以及液压阀和取力器的控制装置。
自卸车的连杆组合式举升机构形式有T式和F式两种,其实都是四连杆机构原理。
(四)自卸车副车架:
自卸车副车架的主要功能有:①作为自卸车车厢举的支撑机构,举升机构都安在副车架上。②副车架与自卸车底盘的纵向大梁是全部贴合在一起的,即副车架与自卸车底盘大梁是点和面的接触,从而保护自卸车底盘的作用。
(五)后栏板锁紧机构及挡泥板组成
后栏板锁紧机构的功能就是实现自卸车后栏板开闭时能自动打开、锁紧,从而实现自动卸货。主要的结构形式有如下几种:
四连杆式后栏板锁紧机构Ⅰ

四连杆式后栏板锁紧机构Ⅱ

第三节 国内外生产技术发展趋势 分析
相对于普通车辆而言,非公路自卸车对动载荷和抗冲击性要求更高,后桥、后悬架都要加以强化。在工地作业的非公路自卸车,要求转向灵活,转弯半径小。因为建筑工地往往对工期要求严格,所以非公路自卸车必须故障少、可靠性好。由于工地路面复杂,往往松软、坑洼,所以车辆必须满足动力足、扭矩大、起步速度低等要求,即“低速重载大扭矩”。
非公路自卸车最近的技术发展趋势主要是应用技术在非公路自卸车上的推广使用。
(1)向安全性舒适性发展:
提高整车安全性,包括车身安全性能、制动性能进一步提高;车身采用半浮气簧式减震装置,悬架采用少片簧以及橡胶悬架提高整车舒适性能;优化变速操纵系统以提高驾驶舒适性能。
(2)自卸车底盘部分:
变速箱方面:随着动力需求升级,会采用多档位如8、9、12档变速箱,并会采用机械自动变速箱;另一方面也会选择采用少档位液力机械变矩器。
提高载质量利用系数,进一步降低整车整备质量,节省原材料;上装部分主要是车厢采用高强度钢板,可以大幅降低钢板选用规格,大幅降低整备质量。
航空技术民用化,底盘车架材料可能会采用铝镁合金材料,除能提高整车承载能力同时,大幅降低整车整备质量。
(3)液压装置:
非公路自卸车的液压系统,或进口或国产、或前顶式或中顶式,不同的生产厂家、不同的要求、不同的技术参数,导致了彼此价格差距比较大。由底盘厂和改装厂联合指定液压件的规格、形状、要求和技术参数,统一进行采购,这将成为自卸车未来发展的方向,但目前还没有这样的做法。
免责申明:本文仅为中经纵横
市场
研究
观点,不代表其他任何投资依据或执行标准等相关行为。如有其他问题,敬请来电垂询:4008099707。特此说明。