设为首页 | 加入收藏
信息检索:
农业政策 | 新闻 | 图片 | 下载 | 专题
您当前的位置: 首页 > 项目研究 > 内容

准分子激光眼科治疗机技术工艺发展趋势分析(立项申请)

网址:www.chinagdp.org 来源:资金申请报告范文发布时间:2018-09-07 14:23:08

第一节 产品技术发展现状
准分子激光是一种能够精确聚焦和控制的紫外光束,其切削精度非常高,每个光脉冲切削深度为0.2微米。能够在人的头发丝上刻出各种花样来。并且准分子激光为冷光源,不产生热量,因而对切削的周围组织无损伤。医生用准分子激光治疗近视眼主要是利用准分子激光能够精确切削组织的特性,用光束重塑角膜曲率达到矫正近视的目的。医生在治疗前将近视度数输入计算机,由计算机来控制切削的范围和深度,激光器发出一系列的激光脉冲照射到角膜上,在角膜中心削出一个光滑的平面,每个脉冲切除一薄层中心角膜组织,多个脉冲照射到角膜组织上以后,使角膜曲率变平,光线能够直接聚焦于视网膜上,视力变得清晰。


 近年来,治疗近视最为成功的技术是激光屈光性角膜切除术(PRK)和激光角膜内磨镶术(LASIK)。


1、PRK手术是先用铲刮刮除角膜上皮,然后应用准分子激光对角膜前弹力层及基质层作角膜切除术,因193nm的ArF准分子激光对生物组织是通过光化学效应将生物大分子键打断,使组织消融,从而达到切除组织的目的。该手术造成的切口创面是十分光滑和整齐的,对邻近组织没有热损伤。准分子激光是由电脑控制,治疗前先将病人的屈光度输入计算机,计算机根据所需要矫正的度数控制激光照射的脉冲和范围,以达到预期的目的。


2、LASIK应用两种先进仪器及精细手术技术,一是自动板层角膜成形刀(显微角膜刀),将角膜实质浅层切开一均匀的薄层角膜瓣;二是应用计算机控制的准分子激光根据所要矫正的屈光度消融角膜瓣下基质层,以改变角膜曲率,使其变成扁平状态,从而降低近视。然后覆盖角膜瓣,由于有了角膜瓣,准分子激光是在角膜基质内消融,故而保持了上皮和前弹力层的完整性,保持整个角膜的正常解剖,因此术后无明显疼痛,无明显上皮增殖及上皮下浑浊,矫正屈光的预测性及准确性强,术后视力恢复快,屈光回退亦小。


 第二节 产品工艺特点或流程


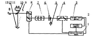
准分子眼科治疗机构造工艺图

 
    1)控制板实现计算机控制的一个中介,功能为信号转换,为二极管激光,衰减器等提供驱动力。


2)计算机除对准分子激光、衰减器、能量探测器和x-Y扫描器进行控制外,也用于患者病例编辑。


3)激光器工作气体:ArF;输出波长:193nm;最大重复频率:小于等于200Hz;脉冲能量:6mJ~10mJ;光斑尺寸:4.5×7.5mm。


4)衰减器两电镀膜的光学片,用于对激光的能量控制。


5)能量探测计侧装在光闸边的功率计,当光闸关闭时可以接收激光束,进行能量控制;


 6)安全光闸用于遮挡光束,它是在一个电流螺线管的驱动下开启与关闭,其上镶有一反射片。当光闸关闭时,激光束被反射到功率计,实现能量监测。


7)汇聚器它是由两个透镜组成。一个是球面镜,一个是柱面镜,它们组合在一起以将矩形光斑在角膜面上汇聚成一直径为1mm~2mm的圆形光斑。它们装在一个位置可调节的装置上,以达到最佳效果。


8)扫描器是由两片装在电流驱动的转动器的镜片组成,转动角度依赖于驱动电流的大小,其转动轴相互垂直,构成x.Y两个方向的移动扫描。


9)定位系统一红色二极管激光束,用于对病人眼睛中心位置定位。


 10)45度反射镜一个对193nm波长的光高度反射,在可见光范围内透射的镀膜镜,用于将来自扫描器的激光束反射到角膜平面,同时不影响医生通过显微镜对病人手术进程的观察。


11)显微镜提供医生观察用。


12)照明光照明光是由两根光导纤维引出,照明术区,亮度可调。


13)注视激光一绿色二极管激光束,与紫外激光同轴,作为病人的注视目标。

 
    第三节 国内外技术未来发展趋势 分析


准分子激光切削技术在经过几年的临床应用中,取得了一定的效果,但也出现了一些合并征。如:视力回退,眩光等。随着病人对手术期望值的不断提高,精确的术前诊断,可靠而安全的手术方式是准分子治疗的发展方向。


 1、扫描方式的改变


以前的准分子激光切削采用矩形能量分布的大光斑,虽然后来增加了多光区切削模式,但“阶梯效应”,“中心岛现象”,‘‘不规则散光”,对手术适应症有一定限制。近年来,采用高速飞点小光斑扫描,使激光切削更加均匀,光滑,准确。lmm的小光斑减小了光斑之间的分离,高斯型能量分布使光斑之间能量分布更均匀,从而对角膜切削更加均匀,平滑,同时缩短手术时间。小光斑飞点扫描还可以根据眼球的视差分布对角膜进行最优化非曲面矫正,使角膜切削深度最小,最平滑,以保证手术的安全性及效果的稳定性。


2、高速主动眼球跟踪系统


由于激光切削频率的加快,准分子激光应始终与眼球同步,才能保证切削的精确性。跟踪频率必须大于切削频率,主动眼球跟踪方式有三种:(1)视频跟踪;(2)远红外跟踪;(3)雷达跟踪。


3、自动能量监测反馈系统


为了保证整个治疗过程的准确性和安全性,在系统内部集成了对准分子激光能量的自动监测及反馈补偿系统,以保证整个矫正过程的准确和一致性。


 4、波前像差系统:测量眼视光系统的总体像差。

 

 

免责申明:本文仅为中经纵横 市场 研究 观点,不代表其他任何投资依据或执行标准等相关行为。如有其他问题,敬请来电垂询:4008099707。特此说明。

上一篇:中国消防设备市场投资机会与风险
下一篇:我国香料、香精制造行业经济运行最好水平分析

单位信息

单位名称:北京中政国宏社会经济咨询中心

单位地址:北京市西城区国宏大厦23层

邮政编码:100038

开户银行:北京建行万丰支行

银行账号:1100 1042 4000 5300 6848

手机(同微信): 18600227098 18618365620

联 系 人:李春风 扈蕴娇